3 fas elverk

09 jan 2015 20:19 - 09 jan 2015 21:17 #81 av Michell Martic
Svar från Michell Martic i ämnet 3 fas elverk
Nej, det finns ingen risk för att spänningen drar iväg till tusentals volt. Spänningen kan inte bli högre än vad anläggningen kan producera. Om vi utgår från toppvärdet över lindningen exklusive dess förluster (400V * √2 = 566V) så kan potentialskillnaden aldrig, i något ögonblick, bli större än så. Detta förutsätter att jordens potential är ca 0V, vilket den är.

Potentialen i sin tur är beroende av objektets laddning. Potentialskillnaden är beroende av vad du jämför med.

Be Logga in eller Skapa ett konto ansluta till konversationen.

09 jan 2015 20:28 #82 av Slugge
Svar från Slugge i ämnet 3 fas elverk

Michell Andersson skrev:

Slugge skrev: Skriver inte att du har en massa fel, men vad vill du åstadkomma med detta? Är det något problem att ha ett jordtag anslutet tycker du, med din lösning slår man sönder hela elanläggningen vid PEN-fel för man tvunget inte ville ha jordtag, vad har man vunnit då, hur kan din lösning då vara bättre?
Sen att man kan få det att fungera är nog inga problem, men varför gå över alla världshaven efter vatten.
Kul att diskutera förvisso även om bilderna syns ganska otydligt, kanske bättre dela upp det i två, ett för inre och ett för yttre nät? Då kan du säkert få fler svar också av de som sysslar med det dagligen.

Jag sysslar med detta dagligen.

Att anlägga ett jordtag är inte gratis, ej heller att underhålla och kontrollera det. Det är alltså inget man borde anlägga om det inte finns ett behov.

Ingenting är gratis, ej heller installation av omkopplare och reservelverk, inte heller service, underhåll och testkörning av en sådan anläggning. Tar ju inte lång tid att i sammanhanget mäta jordtaget då också, detta anser jag vara en extra trygghet t.o.m. en självklarhet i en känslig anläggning som kräver reservkraft.
Sen finns ju även IT-anläggningar som du skriver med sina för- och nackdelar, har inte jobbat i en sådan ännu men säkerligen ett måste på sina ställen.
Men bra du funderar, bra du gör bilder också, tror som sagt du vunnit på att förtydliga dessa lite bara, allt blir smått smått smått..

Be Logga in eller Skapa ett konto ansluta till konversationen.

09 jan 2015 20:52 - 09 jan 2015 20:53 #83 av Michell Martic
Svar från Michell Martic i ämnet 3 fas elverk
Känns som att du blandar ihop en del saker. Man kan ha ett absolut behov av reservkraft, men frågan är om det innebär att man även har ett absolut behov av ett jordtag.

Min poäng är att man kan vara i behov av en bil, men det behöver inte innebära att man även behöver ett garage. Ska man då tvinga folk att bygga ett garage också bara för sakens skull fast den som köper bilen lovar att han inte har ett behov av det och dessutom kan bevisa att behovet saknas?

...och om du klickar på bilderna så blir de större. Man kan dessutom zooma med webbläsaren.

Be Logga in eller Skapa ett konto ansluta till konversationen.

09 jan 2015 21:32 #84 av Slugge
Svar från Slugge i ämnet 3 fas elverk
Har jag säkert gjort, är ingen expert, jag bara arbetar i dessa anläggningar då och då. Men i väntan på riktiga svar och förklaringar kan det ju vara kul att spekulera vidare..

Har man behov av reservkraft har man en känslig elanläggning som inte gillar driftstopp, verkar vettigt då med eget jordtag tycker jag, tror knappast kostnaden för detta motsvarar förhållandet mellan bil och garage.
Det går säkerligen att göra andra lösningar och infoga dessa i standarder men folk som inte gör annat än går runt och klurar på dessa saker och till och med drömmer om dem på natten har kommit fram till dessa lösningar som du säkert sett i SEs "stationära reservkraftsanläggningar".
Många gånger kommer man fram till lösningar genom att kartlägga verkliga exempel, här kan framkomma saker som teoretikerna på ett eller annat sätt råkat förbise och rättelse sker därefter, nya upplagor trycks.
Din lösning med II systemet kanske kommer bli ny standard med lite smärre justeringar, vem vet?

Be Logga in eller Skapa ett konto ansluta till konversationen.

09 jan 2015 21:39 #85 av Slugge
Svar från Slugge i ämnet 3 fas elverk
Konstigt nog är den otydliga bilden borta nu, har du något med detta att göra Michell?
Blir lite konstigt när vi diskuterar en bild i en tråd och bilden helt plötsligt försvinner men diskussionen fortsätter..
Där var något rött handritat streck som förband jordtagen från yttre och inre nät bland annat.

De senare bilderna är ok visuellt, men det var inte vid dessa diskussionen började.

Be Logga in eller Skapa ett konto ansluta till konversationen.

09 jan 2015 21:53 - 09 jan 2015 22:03 #86 av Michell Martic
Svar från Michell Martic i ämnet 3 fas elverk

Slugge skrev: Det går säkerligen att göra andra lösningar och infoga dessa i standarder men folk som inte gör annat än går runt och klurar på dessa saker och till och med drömmer om dem på natten har kommit fram till dessa lösningar som du säkert sett i SEs "stationära reservkraftsanläggningar".

Det är, bland andra, dessa människor jag arbetar med, de som utformar AMIs anvisningar i vilka anvisningarna för reservkraftsanläggningar ingår

Konstigt nog är den otydliga bilden borta nu, har du något med detta att göra Michell?

Du menar de där det fanns två stycken jordfelsbrytare inritade? Ja, det är jag som redigerade inlägget. Eftersom jag senare kom fram till att den senare modellen ändå skulle tillämpas så tog jag bort dessa. För att slippa alla jordfelsbrytare helt enkelt.

Gällande de bilderna så va de dock i samma upplösning som de senare, och tidigare, för den delen. Dock så blir bilden ofta av sämre kvalisort, om det ingår färger i den då man sparar en bitmap till jpeg eftersom jpeg-formatet är ett ganska komprimerat format. Dessvärre går det inte att posta rena bitmaps i forumet. Bilderna gör jag i MSPaint på pixelnivå så det är detta som är anledningen till varför de blir små.

Vill även påpeka att jag ser detta som en chans att testa en idé. Den får gärna hackas på, det är det som är poängen! Men det ska också vara relevant. I min värld så fungerar inte argument som "det finns folk som redan tänkt på detta" och "fattar du verkligen inte detta själv?" eller "men så kan man inte göra!", Man måste kunna motivera varför i så fall.

Be Logga in eller Skapa ett konto ansluta till konversationen.

09 jan 2015 22:03 #87 av Slugge
Svar från Slugge i ämnet 3 fas elverk
Jamen snälle vän, fråga dem då så har du ju svaret inom några minuter!:tummeupp:

Ja, det är de handritade bilderna vi utgått ifrån, det var dessa som var otydliga och nu är de väck, ersatta av andra tydligare bilder som visar något helt annat.
Alla referenser till de borttagna bilderna borde även tas bort för att undvika missförstånd vid framtida läsningar d.v.s. de flesta av mina inlägg.
Lämnar nu denna diskussionen åt de bättre vetande.
Följande användare sa tack: Bo Siltberg

Be Logga in eller Skapa ett konto ansluta till konversationen.

10 jan 2015 08:19 #88 av Michell Martic
Svar från Michell Martic i ämnet 3 fas elverk
Jag ställde frågan, men en människa som förstår situationen vill inte ge ett svar direkt utan vill gärna tänka på saken vilket är det besked man fick. Man ska inte vifta bort detta som om det vore något självklart och busenkelt för även för människor med gedigen erfarenhet och utbildning kan detta vara något som behöver funderas på först. Det är många felfall som ska täckas in och varje felfall kan vara nog så komplicerat. Att då skynda sig att slänga ur sig ett svar tyder, enligt min mening, på att man kanske inte förstått problematiken riktigt.

SEs anvisningar för stationära reservkraftsanläggningar är inte den generella anvisningen utan enbart den som specifikt ska tillämpas vid stationära aggregat. Den anvisning som gäller för alla anläggningar, mobila som stationära, är 'Reservkraftaggregat - Tekniska anvisningar för anslutning av reservkraftaggregat i kundanläggningar'. Skulle man ge sig in och läsa denna anvisning så står det följande om jordning:

Jordning
För att säkerställa att installationen är jordad även vid avbrott i PENledaren från nätägarens nät (t ex avbrott i servisledningen), ska ett separat jordtag anordnas enligt starkströmsföreskrifterna.
Jordtaget ska anslutas till anläggningens huvudjordningsplint. Vid anläggningar som saknar huvudjordningsplint ska anslutning ske till PE(PEN)-ledaren vid den inmatningsenhet eller central där reservkraften ska inmatas.
För kontrollmätning ska i jordtagsledaren insättas en kraftig skruvklämma varmed jordtaget bekvämt kan frånskiljas. Skruvklämman bör placeras utomhus i anslutning till inmatningsenheten. Se starkströmsföreskrifterna. Mellan eventuell skruvklämma och PE-skenan i centralen (huvudjordningsplint) bör jordtagsledaren bestå av grundisolerad enledare


I den anvisning du hänvisar till så står det följande:

Systemjordning mm av reservkraftanläggning
Systemjordning av reservkraftanläggningar för lågspänning och högspänning ska utföras enligt gällande starkströmsföreskrifter så att god elsäkerhetsteknisk praxis uppnås.
Ett allmänt distributionsnät för lågspänning skall vara TN-system. Systemjordningen får inte ändras mellan nätdrift och reservdrift.
Ett TN-system kan vara TN-C eller TN-S. Det börjar bli vanligt att distributionsnätet till en kundanläggning utförs som TN-S. Problem att ”leva sitt eget liv” för distributionsnät och kundanläggning med reservkraft uppstår vid TN-S matning. Problemen är av drift- och säkerhetsteknisk natur. Vid TN-S matning kan PE-ledare komma att föra belastningsström vilket strider mot de grundläggande elsäkerhetstekniska principerna.

Man hänvisar alltså till starkströmsföreskrifterna, och med tanke på när dessa anvisningar gjordes så syftar man nog till elinstallationsreglerna då också. SEs anvisningar i sig lutar alltså på SS 436 40 00. Men du har rätt, det är kloka människor som sitter och funderar på detta också, om inte klokare t o m. Vi har bland annat Örjan Borgström från EUU och Mats Jonsson från Eltrygg Miljö vilka är aktiva här i forumet. Det i sin tur är ju anledningen till varför frågan ställs här också.

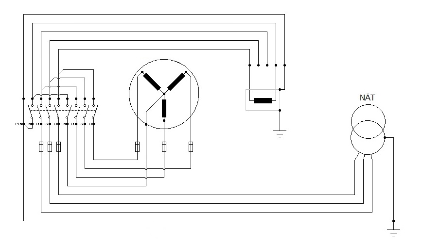
Eftersom vi glidit ifrån frågan och istället börja diskutera mina fina bilder ur ett konstnärligt perspektiv, samt vad REDIGERA-knappen vid inläggen har för funktion, så skulle jag vilja ställa frågan igen kopplad till bilden som är postad i detta inlägg. Förutsett att det är kopplat som det är avsiktligt. Den enda regeln jag hittar som detta strider mot är att det är kopplat som olika system vid nätdrift och reservkraftsdrift. Alltså TN vid nätdrift och IT vid reservkraft. Kom gärna med motiveringar till varför detta innebär ett problem. Förklara gärna för mig vad riskerna med detta förfarande är, samt motivera. Men samtidigt så är det en öppen diskussion så allt är välkommet. Det ska dock gärna vara relevant för trådens titel.

Utgå från denna bild:
Bilagor:

Be Logga in eller Skapa ett konto ansluta till konversationen.

10 jan 2015 08:57 #89 av Stefan Ericson
Svar från Stefan Ericson i ämnet 3 fas elverk
Hej på Er!
Nu ska jag försöka samla ihop tankarna efter all brain storming.
Torbjörn, i inlägg #59 och Bo i inlägg 69 tar upp samma sak. Det stämmer med 0 skruven åtdragen.
Michell, i ditt inlägg #68, så är det så jag menar, förutom att det fins en gulgrön ledning i en europahansken, det innebär att elverkets jord är ansuten till elbolagets PEN. Du gör fina scheman.
Om man släpper 0 skruven, så får man inte IT system. Det blir något ni inte har. När 0skruven är åtdragen, så är det ett T. Med 0 skruven släppt blir det I. Det betyder IIS eller något liknande.
Michell i ditt inlägg #68, hur mycket ström går det i jordfelet?

Svar 0A.
För att få ström i jorden så måste två faser vara mot jorden. Strömmen kan inte flytta sig mellan 2 st generatorer, efter som 0 flyter i det här elverket.
Svenne har inte förstått vitsen med en nergrävd plåt, så det har han inte gjort.

Be Logga in eller Skapa ett konto ansluta till konversationen.

10 jan 2015 09:03 #90 av Stefan Ericson
Svar från Stefan Ericson i ämnet 3 fas elverk
Hej igen!
Nästa fråga.
Om Svenne kopplar in en byggcentral med jfb, mellan elverket och uttaget.
1 vad händer med jord skruven åtdragen?
2 vad händer med jordskruven släppt?
3 vad ska han göra för att få jfb att fungera?

Be Logga in eller Skapa ett konto ansluta till konversationen.

10 jan 2015 09:09 - 10 jan 2015 09:11 #91 av Michell Martic
Svar från Michell Martic i ämnet 3 fas elverk

Stefan Ericson skrev: Om man släpper 0 skruven, så får man inte IT system. Det blir något ni inte har. När 0skruven är åtdragen, så är det ett T. Med 0 skruven släppt blir det I. Det betyder IIS eller något liknande.

Det blir ju smma scenario som om PEN-ledaren skulle brytas ute i nätet. Jag tror jag benämnde det II-system i inlägg #76 .

Michell i ditt inlägg #68, hur mycket ström går det i jordfelet?

Ingen annan än den kapacitiva strömmen mot jord, vilken kan vara svår att beräkna. Beror ju på ledningarnas utsträckning och fysiska radie till jord samt spänningsnivå. Dock ingen aktiv ström, utan enbart reaktiv. Den kommer inte uppgå till mätbara värden vad jag förstår dock. Alltså inte personfarligt.

Be Logga in eller Skapa ett konto ansluta till konversationen.

10 jan 2015 09:11 #92 av Stefan Ericson
Svar från Stefan Ericson i ämnet 3 fas elverk
Om Svenne tar med sig elverket och familjen ut i skogen.
Han kopplar in en kap, klyv och en kvarn på olika faser.
Han använder inget jordspett och nollan inte är ansluten till jord i elverket, som står på gummi hjul.
Hur ska Svenne med familj bära sig åt för att få strömm mellan pekfingrana?
Det är det sämsta att få strömmen genom hjärtat.

Be Logga in eller Skapa ett konto ansluta till konversationen.

10 jan 2015 09:18 #93 av Stefan Ericson
Svar från Stefan Ericson i ämnet 3 fas elverk
Hej Michell!
Det viktiga i det här exemplet, är att 0 är ansutet till elverkets noll och den inte är ansluten till jord. Där emot är elverkets jord anslutet till elbolagets.
Följande användare sa tack: Michell Martic

Be Logga in eller Skapa ett konto ansluta till konversationen.

10 jan 2015 09:24 - 10 jan 2015 09:35 #94 av Michell Martic
Svar från Michell Martic i ämnet 3 fas elverk

Stefan Ericson skrev: Hej Michell!
Det viktiga i det här exemplet, är att 0 är ansutet till elverkets noll och den inte är ansluten till jord. Där emot är elverkets jord anslutet till elbolagets.

Något sånt här du tänkte? Jag kan hålla med dig om detta för vore chassit anslutet mot neutralpunkten, som i mitt inlägg #88 så har jag ingen automatisk frånkoppling vid fel mot chassit. Det har jag inte nu heller, men här får jag ingen kortslutning i alla fall. Tack Stefan.

Dock undrar jag vad som händer om vi inte ansluter chassit mot något alls.
Bilagor:

Be Logga in eller Skapa ett konto ansluta till konversationen.

10 jan 2015 11:14 #95 av Stefan Ericson
Svar från Stefan Ericson i ämnet 3 fas elverk
Hej Michell!
Du har ritat som jag tänkt mig.

I fallet med elverk ute i skogen och inget jordspett, så är inte chassit anslutet till något.

Be Logga in eller Skapa ett konto ansluta till konversationen.

10 jan 2015 21:48 #96 av Torbjörn Forsman
Svar från Torbjörn Forsman i ämnet 3 fas elverk

Stefan Ericson skrev: Om Svenne tar med sig elverket och familjen ut i skogen.
Han kopplar in en kap, klyv och en kvarn på olika faser.
Han använder inget jordspett och nollan inte är ansluten till jord i elverket, som står på gummi hjul.
Hur ska Svenne med familj bära sig åt för att få strömm mellan pekfingrana?
Det är det sämsta att få strömmen genom hjärtat.


I det fallet krävs dubbelt jordfel för att det ska uppstå någon fara. Låt oss anta att elverket har fått överledning mellan L1 och sin stomme samt att klyven som matas från L2 är ansluten via skarvsladdar där ett skarvuttag har råkat hamna i ett blöthål, vilket innebär en relativt låg resistans från såväl L2 som N till jord. Beroende på hur felresistanserna i det blöta skarvuttaget fördelar sig så kommer alltså "sann" jordpotential att ligga någonstans mellan L2:s och N:s spänning. Då blir spänningen mellan L1 (och därmed elverkets stomme) och jord någonstans mellan elverkets fasspänning och dess huvudspänning. Felströmmen som kan uppstå om en jordad person petar på elverket begränsas då av personens resistans i serie med någon kombination av felresistanserna i skarvuttaget.

Was man sich nicht erklären kann, sieht man als Überspannung an.

Be Logga in eller Skapa ett konto ansluta till konversationen.

10 jan 2015 22:07 #97 av Michell Martic
Svar från Michell Martic i ämnet 3 fas elverk

Torbjörn Forsman skrev: I det fallet krävs dubbelt jordfel för att det ska uppstå någon fara. Låt oss anta att elverket har fått överledning mellan L1 och sin stomme samt att klyven som matas från L2 är ansluten via skarvsladdar där ett skarvuttag har råkat hamna i ett blöthål, vilket innebär en relativt låg resistans från såväl L2 som N till jord. Beroende på hur felresistanserna i det blöta skarvuttaget fördelar sig så kommer alltså "sann" jordpotential att ligga någonstans mellan L2:s och N:s spänning. Då blir spänningen mellan L1 (och därmed elverkets stomme) och jord någonstans mellan elverkets fasspänning och dess huvudspänning. Felströmmen som kan uppstå om en jordad person petar på elverket begränsas då av personens resistans i serie med någon kombination av felresistanserna i skarvuttaget.

Jag förstår inte riktigt hur detta scenario, med två jordfel, skulle skilja sig från en vanlig anläggning med jordad neutralpunkt (TN), vid första jordfelet förutom att vi kan få huvudspänning istället för fasspänning mellan jord och utsatt del. Den skiljer sig inte alls, så vitt jag förstår, från en IT-anläggning förutom att du inte har ett överliggande högspänningsnät. Vid en vanlig anläggning så skulle vi kanske sätta in en jordfelsbrytare som skydd. Låt oss göra detta här också. Hur står vi oss då vid fel?

Be Logga in eller Skapa ett konto ansluta till konversationen.

10 jan 2015 22:10 #98 av Bo Siltberg
Svar från Bo Siltberg i ämnet 3 fas elverk
De sista inläggen här verkar handla om IT-system. Ja, detta är vad man får med ett litet portabelt elverk utan jordspett, man får ett IT-system. Man kan se det som ett skyddsseparerat system. I ett sådant kan man ta i en fasledare och samtidigt ha tårna nedborrade i jorden, det blir ingen sluten strömkrets som kan vara farlig. Se bild 1.

Det är dessutom ett icke övervakat IT-system. En fas kan alltså få jordkontakt utan att något (farligt) händer, ingen frånkoppling sker. Om man däremot i detta skede tar i en fasledare med tårna nedborrade i jorden, då blir det farligt, som Torbjörn även visar. För att det ska hända krävs alltså två fel, så det är "tillåtet" att dö här :unsure: Att "ta i en fasledare" är i detta fall lika med att ta i en utsatt del vid ett fel mot skyddsjord i en apparat. Se bild 2.

Därför rekommenderar HB447 att en skyddsutjämning utförs när flera apparater matas från ett sådant elverk, alltså skyddsutjämning mellan apparaterna. Denna skyddsutjämning kan enkelt erhållas genom att ansluta klass I-apparater i ett gemensamt jordat skarvsladdställ.

Så varför kan vi inte använda IT-system? Det verkar ju bra, eller? Varför används inte IT-system för bostäder, utan enbart i speciella anläggningar där frånkoppling behöver undvikas? Varför använder vi TN-system och jordtag och skyddsjord? Tror inte jag klarar att göra en utläggning, men några korta stolpar:

1. TN-system (med jordtag) används vid distribution av lågspänning för att ge skydd mot jordfel på högspänningssidan.
2. Nestor William säger att En större anläggning har man inte sådan kontroll över att den ger tillräcklig säkerhet om den skulle vara helt frisvävande.

Så detta blir lite av hönan och ägget, men jag tolkar det som att grundorsaken till skyddsjord och jordtag är just att upptäcka jordfel, det första jordfelet, genom att införa en "medvetet jordfel" i form av jordtaget som gör det möjligt att upptäcka det "riktiga" första jordfelet.

En bostad får nog anses vara ett sådan system som man enligt William har svårt att kontrollera, dvs risken för jordfel gör att man behöver använda ett TN-system. Om ett sådant system saknar jordtag får man vid jordfel en beröringsspänning mellan jord och utsatta delar, både inom anläggningen och ute på linjen. Man kan som sagt inte förlita sig på nätets jordtag eftersom det kan kopplas bort vid underhåll.

Så min slutsats är att matning av några enskilda maskiner kan göras i form av ett skyddsutjämnat IT-system, medan en reservkraftsanläggning till en bostad måste utföras som TN-system, med eget jordtag. Så alla har i princip rätt här. Ett skyddsseparerat system är överlägset så länge som endast en apparat ansluts. Vid flera apparater, eller ett helt hus, får man börja titta på vilka risker det innebär.

Ett intressant och vanligt fall är matning av en cirkulationspump, via stickpropp från en litet portabelt elverk. Dessa har väl åtminstone en mittpunktsjord, dvs de har ett jordat uttag som på något sätt har kontakt med elverkets generatorlindningar. Vidare kan man anta att cirkulationspumpen har kontakt med nätets PEN via sina rör. Vid ett jordfel där en fasledare får kontakt med jord får vi då en sluten strömkrets fas - jord - nätets jordtag - PEN - rör - pump - skyddsjord - generator. Så detta fall skulle ovillkorligen kräva ett jordspett(?), även om man nog kan bedöma risken för ett sådant jordfel som minimalt. Se bild 3.

Slutligen är en JFB väldigt bra, men skulle linjemästarn lösa en JFB, vilket inte är så angenämt, så får man nog räkna med ett besök...

Fil bilaga:

Be Logga in eller Skapa ett konto ansluta till konversationen.

10 jan 2015 22:30 - 11 jan 2015 10:28 #99 av Michell Martic
Svar från Michell Martic i ämnet 3 fas elverk

Bo Siltberg skrev: Att "ta i en fasledare" är i detta fall lika med att ta i en utsatt del vid ett fel mot skyddsjord i en apparat. Se bild 2.

Varför skulle jag ta i en fasledare med fötterna nerborrade i jorden? Och är inte detta ganska olämpligt även i en TN-anläggning? I tidigare inlägg så konstaterar jag dock att skillnaden är att den maximala potentialskillnaden i en TN-anläggning är 230V medans i mitt ritade exempel är 400V.

Så detta blir lite av hönan och ägget, men jag tolkar det som att grundorsaken till skyddsjord och jordtag är just att upptäcka jordfel, det första jordfelet, genom att införa en "medvetet jordfel" i form av jordtaget som gör det möjligt att upptäcka det "riktiga" första jordfelet.

Så det första jordfelet i en IT-anläggning är inte farligt, så långt är vi överens. Det är inte förrän fel två det blir problem. Men fel två kan vi ju faktiskt skydda oss från på samma sätt som vi skyddar oss från "fel 1" i ett TN-system.:) Förresten, tänk dig ett scenario med apparater konstruerade som klass 1, anslutna i vars ett ojordat uttag matade av olika faser där du har ett fel mot utsatt del i båda två.

Slutligen är en JFB väldigt bra, men skulle linjemästarn lösa en JFB, vilket inte är så angenämt, så får man nog räkna med ett besök...

Men även vid användning av ett eget jordtag så skulle linjemästaren kunna hamna i samma sits om denne står och håller en separerad PEN-ledare och nätets jordtagsledare och det samtidigt sker ett jordfel. Denna spänning skulle uppgå till fasspänning, exklusive spänningsfallet mellan reservkraftens jordtag och neutralpunkten i generatorn (även spänningsfallet i ledningarna givetvis). Likaså här skyddar man linjemästare Karlsson med användandet av jordfelsbrytare.

Saxat till inlägg #103 istället:
Det övriga, gällande en anläggnings överskådlighet vid IT-system, är inget resonemang jag kan följa dig helt ut i. Jag förstår dig, men jag tror inte att jag håller riktigt riktigt med. Det finns, enligt mig, inget problem med att det finns jordförbindelse till utsatta delar. Det vill jag t o m ha så länge nätets PEN-ledare är intakt. Skulle den falla så har jag ingen tillförlitlig förbindelse längre. Det är heller inget problem vad jag förstår, men jag kan ju ha fel...
Det kommer mer. Redigerar...

EDIT: Redigerar inte längre.

Be Logga in eller Skapa ett konto ansluta till konversationen.

10 jan 2015 22:37 #100 av Bo Siltberg
Svar från Bo Siltberg i ämnet 3 fas elverk
Sluta då att redigera och sov på saken istället.
Kom ihåg att vi inte grälar med dig här, utan resonerar.
Så var snäll och tänk lite på hur du inleder dina inlägg.

Be Logga in eller Skapa ett konto ansluta till konversationen.

Sidan laddades på: 0.173 sekunder

Senaste foruminlägg